ÔÚîÓ½ðÁã¼þµÄ½¨ÉèÀú³ÌÖУ¬£¬£¬£¬£¬£¬£¬¾³£Éæ¼°ÕÛÍä½Ç¶ÈÌØÕ÷µÄ½¨Éè¡£¡£¡£¡£¡£¡£¡£ÈôÊÇËùÒª½¨ÉèµÄÁã¼þµÄÕÛÍä½Ç¶ÈÊÇ90¡ã£¬£¬£¬£¬£¬£¬£¬ÄÇÔÚÈýάCADÈí¼þÖн¨ÉèÆðÀ´½ÏÁ¿¼òÆÓ£¬£¬£¬£¬£¬£¬£¬²¢ÇÒÔÚ½¨ÉèÀú³ÌÖпÉͨ¹ýÐ޸IJÎÊýÖµÀ´Ê¹Õâ¸öîÓ½ðÁã¼þµÖ´ïÀíÏëµÄЧ¹û¡£¡£¡£¡£¡£¡£¡£¿ÉÊÇ£¬£¬£¬£¬£¬£¬£¬ÈôÊÇÆäÕÛÍä½Ç¶È²»¼´ÊÇ90¡ãʱ£¬£¬£¬£¬£¬£¬£¬ÄǶÔÉè¼ÆÊ¦µÄ²úÆ·¹¹½¨ÄÜÁ¦¾ÍÌá³öÁ˸ü¸ßµÄÒªÇ󡣡£¡£¡£¡£¡£¡£ÓÉÓÚÕâЩ·Ç90¡ãµÄÕÛÍäÌØÕ÷ÊDz»ÔÚºñ±ÚµÄͳһ²àµÄ£¬£¬£¬£¬£¬£¬£¬Í¨¹ýîÓ½ðÄ£¿£¿£¿£¿£¿£¿éµÄÑØÏßÕÛµþ¹¦Ð§ÊǽÏÁ¿ÄÑ×ö³ö׼ȷµÄЧ¹ûµÄ£¬£¬£¬£¬£¬£¬£¬ÐèÒªÉè¼ÆÊ¦×ª»¯¹¹½¨Ë¼Ð÷£¬£¬£¬£¬£¬£¬£¬½ÓÄÉ·ÇͨÀýµÄCADÉè¼Æ²Ù×÷ÒªÁì¡£¡£¡£¡£¡£¡£¡£
±¾ÎĽ«ÍŽáʵÀý£¬£¬£¬£¬£¬£¬£¬Ïò¸÷ÈËÏÈÈÝÈýάCADÈí¼þ¡ª¡ªÖÐÍû3DÔõÑù½¨ÉèÕâÖÖ·Ç90¡ãÕÛÍäµÄîÓ½ðÁã¼þ¡£¡£¡£¡£¡£¡£¡£
ÖÐÍû3DµÄîÓ½ðÄ£¿£¿£¿£¿£¿£¿é£¬£¬£¬£¬£¬£¬£¬ÎªÉè¼ÆÊ¦ÃÇÌṩÁËÐí¶à½¨ÉèͨÀýîÓ½ðÁã¼þµÄ¹¦Ð§£¬£¬£¬£¬£¬£¬£¬Ê¹ÓÃÆðÀ´¼òÆÓ±ã½Ý£¬£¬£¬£¬£¬£¬£¬Ò²ºÜÊÇÈÝÒ×ÉÏÊÖ¡£¡£¡£¡£¡£¡£¡£¶øÔÚ¾ÙÐÐîÓ½ðÁã¼þ½¨Éè²Ù×÷ʱ£¬£¬£¬£¬£¬£¬£¬ÎÒÃÇÐèҪ͎ὨÉèÐèÇ󣬣¬£¬£¬£¬£¬£¬Êʵ±ÔËÓÃһЩ²Ù×÷¼¼ÇÉ¡£¡£¡£¡£¡£¡£¡£
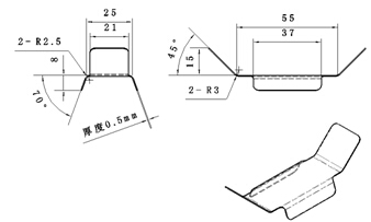
ÎÒÃÇÒÔͼ1ÖеÄÕÛÍäÌØÕ÷ΪÀý×Ó£¬£¬£¬£¬£¬£¬£¬ÏÈÀ´¿´¿´»ù±¾µÄ²Ù×÷£º

ͼ1 ÕÛÍäÌØÕ÷
ÈôÊÇÏÈ»²Ýͼ£¬£¬£¬£¬£¬£¬£¬È»ºóͨ¹ýÖÐÍû3DîÓ½ðÄ£¿£¿£¿£¿£¿£¿éµÄÀÉ칦Ч£¬£¬£¬£¬£¬£¬£¬¾ÍÄÜ»ñµÃ׼ȷµÄЧ¹û£¬£¬£¬£¬£¬£¬£¬Èçͼ2Ëùʾ£»£»£»£»£»£»

ͼ2 ׼ȷЧ¹û
µ«ÈôÊÇÊÇÏÈÀÉìÆ½°å£¬£¬£¬£¬£¬£¬£¬ÔÙ½«²Ý»æÕÛÍäÏßʹÓÃÑØÏßÕÛµþ¹¦Ð§À´²Ù×÷£¬£¬£¬£¬£¬£¬£¬¾ÍºÜÄѽ¨Éè³ö׼ȷµÄЧ¹û£¬£¬£¬£¬£¬£¬£¬Èçͼ3Ëùʾ£º

ͼ3 ¹ýʧЧ¹û
ËäÈ»£¬£¬£¬£¬£¬£¬£¬³ýÁËÉÏÊöµÄ׼ȷ²Ù×÷Ö®Í⣬£¬£¬£¬£¬£¬£¬ÎÒÃÇÒ²¿ÉÒÔÏÈͨ¹ýͼ4ÖÐÕâ¸ö˼Ð÷À´½¨ÉèîÓ½ðÁã¼þ£ºÊ¹Óá°ÔìÐÍÄ£¿£¿£¿£¿£¿£¿é¡±Öеġ°ÀÉ족¹¦Ð§£¬£¬£¬£¬£¬£¬£¬½á¹¹³öÁã¼þµÄ»ù±¾ÐÎ×´£¬£¬£¬£¬£¬£¬£¬È»ºóÔÙͨ¹ý¡°îÓ½ðÄ£¿£¿£¿£¿£¿£¿é¡±Öеġ°±ê¼ÇÕÛÍ䡱¹¦Ð§£¬£¬£¬£¬£¬£¬£¬½«Æäת»»³É¾ßÓÐîÓ½ðÊôÐÔµÄÁã¼þ¡£¡£¡£¡£¡£¡£¡£

ͼ4 îÓ½ðÁã¼þ½¨Éè˼Ð÷
ÏÂÃæ£¬£¬£¬£¬£¬£¬£¬ÎÒÃÇÍŽáÒ»¸öÏêϸµÄîÓ½ðÁã¼þ£¨ÕÛÍä½Ç¶È·Ç90¡ã£©£¬£¬£¬£¬£¬£¬£¬À´ÏÈÈÝÏêϸµÄ½¨Éè²Ù×÷¡£¡£¡£¡£¡£¡£¡£Í¼5Öм´ÊÇÎÒÃÇÒª½¨ÉèµÄîÓ½ðÁã¼þЧ¹ûͼ¡£¡£¡£¡£¡£¡£¡£

ͼ5 îÓ½ðÁã¼þЧ¹ûͼ
µÚÒ»²½£º½¨ÉèÈçͼ6ËùʾµÄ²Ýͼ¡£¡£¡£¡£¡£¡£¡£

ͼ6 ²Ýͼ
µÚ¶þ²½£ºµã»÷¡°ÔìÐÍÄ£¿£¿£¿£¿£¿£¿é¡±µÄ¡°ÀÉ족¹¦Ð§£¬£¬£¬£¬£¬£¬£¬½¨ÉèµÚÒ»¸öÀÉìÌØÕ÷£¬£¬£¬£¬£¬£¬£¬Í¼7ΪÀÉìЧ¹û¡£¡£¡£¡£¡£¡£¡£

ͼ7 ÀÉìЧ¹û
µÚÈý²½£º½¨ÉèÈçͼ8ËùʾµÄ²Ýͼ¡£¡£¡£¡£¡£¡£¡£

ͼ8 ²Ýͼ
µÚËIJ½£º¼ÌÐøÍ¨¹ý¡°ÔìÐÍÄ£¿£¿£¿£¿£¿£¿é¡±µÄ¡°ÀÉ족¹¦Ð§£¬£¬£¬£¬£¬£¬£¬½¨ÉèµÚ¶þ¸öÀÉìÌØÕ÷£¨Í¼9£©¡£¡£¡£¡£¡£¡£¡£

ͼ9 µÚ¶þ¸öÀÉìЧ¹û
µÚÎå²½£ºÊ¹Óá°ÔìÐÍÄ£¿£¿£¿£¿£¿£¿é¡±µÄ¡°×éºÏ¡±¹¦Ð§£¬£¬£¬£¬£¬£¬£¬½«Á½ÊµÌåºÏ²¢£¨Í¼10£©

ͼ10 ºÏ²¢Ð§¹û
µÚÁù²½£ºÊ¹Óá°îÓ½ðÄ£¿£¿£¿£¿£¿£¿é¡±µÄ¡°±ê¼ÇÕÛÍ䡱¹¦Ð§£¬£¬£¬£¬£¬£¬£¬½«ÔìÐÍÌØÕ÷ת»»³ÉîÓ½ðÌØÕ÷£¬£¬£¬£¬£¬£¬£¬¼´¿ÉµÃ³öͼ11µÄЧ¹û¡£¡£¡£¡£¡£¡£¡£

ͼ11 ת»»ºóµÄîÓ½ðÌØÕ÷Ч¹û
µÚÆß²½£º½«ÕÛÍä¼þÕö¿ª£¨Í¼12£©¡£¡£¡£¡£¡£¡£¡£

ͼ12 Õö¿ªÐ§¹û
µÚ°Ë²½£º½¨ÉèÈçͼ13ËùʾµÄ²Ýͼ¡£¡£¡£¡£¡£¡£¡£

ͼ13
µÚ¾Å²½£ºÊ¹Óá°ÔìÐÍÄ£¿£¿£¿£¿£¿£¿é¡±µÄ¡°ÀÉ족£¨¼õÖÊÁÏ£©¹¦Ð§£¬£¬£¬£¬£¬£¬£¬È¥³ý¶àÓàÖÊÁÏ£¬£¬£¬£¬£¬£¬£¬µÃ³öͼ14Ч¹û¡£¡£¡£¡£¡£¡£¡£

ͼ14 È¥³ý¶àÓàÖÊÁÏ
µÚÊ®²½£º½«Õö¿ªµÄîÓ½ðÁã¼þ»Ö¸´µ½ÕÛÍä״̬£¨Í¼15£©

ͼ15 »Ö¸´ÕÛÍä״̬
µÚʮһ²½£ºÊ¹Óá°µ¹Ô²½Ç¡±¹¦Ð§£¬£¬£¬£¬£¬£¬£¬È¥³ý¼â½Ç£¨Í¼16£©

ͼ16 µ¹Ô²½Ç
ͨ¹ýÒÔÉϰ취µÄ²Ù×÷£¬£¬£¬£¬£¬£¬£¬ÎÒÃǾͿÉÒÔ½¨Éè³öÇкÏÉè¼ÆÒªÇóµÄîÓ½ðÁã¼þÁË¡£¡£¡£¡£¡£¡£¡£
ÎÞÂÛÊÇîÓ½ðÁã¼þÕվɯäËû»úеÁã¼þµÈµÄÉè¼Æ£¬£¬£¬£¬£¬£¬£¬¶¼ÐèÒªÉè¼ÆÊ¦ÍŽá²úÆ·µÄÏêϸÐèÒª£¬£¬£¬£¬£¬£¬£¬ÎÞаµ÷½â¹¹½¨Ë¼Ð÷£¬£¬£¬£¬£¬£¬£¬ÔÙÍŽá¶Ô²Ù×÷Èí¼þµÄÎÞаÔËÓ㬣¬£¬£¬£¬£¬£¬À´µÖ´ï×îÖÕµÄÉè¼ÆÐ§¹û¡£¡£¡£¡£¡£¡£¡£ÐÂÍÆ³öµÄÈýάCADÈí¼þÖÐÍû3D 2016°æ£¬£¬£¬£¬£¬£¬£¬ÍŽáÉè¼ÆÊ¦µÄ±ã½Ý²Ù×÷ϰ¹ß£¬£¬£¬£¬£¬£¬£¬Í¬Ê±Ò²½«¸ü¶à¹¦Ð§ÇáÓ¯»¯¡¢ÖÇÄÜ»¯£¬£¬£¬£¬£¬£¬£¬ÖúÉè¼ÆÊ¦ÇáËÉÎÞаµØÕ¹ÏÖ´´Òâ¡£¡£¡£¡£¡£¡£¡£
ÂíÉÏÏÂÔØÖÐÍû3D 2016°æ£¬£¬£¬£¬£¬£¬£¬ÏíÊܸßЧÎÞаµÄÉè¼ÆÌåÑ飺http://www.zw3d.com.cn/product-58-1.html
¡¤Ãâ·ÑÁì90Å·ÔªÃÅÆ±£üÖÐÍûÑûÄú¹²¸°ººÅµÍþ£º¹²¼û¹¤ÒµÊý×Ö»¯µÄÈ«Çòͼ¾°2026-02-05
¡¤ ²ú½ÌÈÚºÏÐÂʵ¼ù£ºÖÐÍûЯÊÖ¸»ÁÙ¾«¹¤¼°´¨ÄÚ¸ßУ¾ÙÐÐÊ׽조׿Խ¹¤³Ìʦ±¡±Éè¼Æ´óÈü2026-01-06
¡¤ ÖÐÍûÈí¼þÁÁÏàÕã½Æû³µÊýÖÇ»¯Äê»á£¬£¬£¬£¬£¬£¬£¬ÒÔ3D+¸³ÄÜÆû³µÁ㲿¼þÐÐҵתÐÍÉý¼¶2026-01-04
¡¤ ÖÐÍûÈí¼þÓ뽨Áؼ¯ÍŸ濢սÂÔÏàÖú£¡¹²ÆôÎÀ³øÐÐÒµÊý×Ö»¯Ñз¢ÐÂÕ÷³Ì2026-01-04
¡¤ ÖÐÍûCAD 365ÈëÑ¡±ÏÂíÍþ²»¶¯²ú¿Æ¼¼50Ç¿£ºÔÆÔÉúÐͬ£¬£¬£¬£¬£¬£¬£¬ÖØËÜÉè¼ÆÉú²úÁ¦Ð·¶Ê½2025-12-22
¡¤ ÖÐÍûÈí¼þÓë¸ñÁ¦µçÆ÷¸æ¿¢Õ½ÂÔÏàÖú£¬£¬£¬£¬£¬£¬£¬¹²ÖþÖйúÖÆÔìÊý×Ö»¯×ªÐͱê¸Ë2025-12-22
¡¤ ²®ÀÊÌØ»úеÈË£ºCAXÒ»Ìå»¯Æ½Ì¨Í»ÆÆÉè¼Æ±ÚÀÝ£¬£¬£¬£¬£¬£¬£¬¿ªÆôÖÇÄÜÖÆÔìÐÂÆªÕÂ2025-12-17
¡¤ Ä£¾ß¼Ó¹¤20Ä꣬£¬£¬£¬£¬£¬£¬ËûÌìÌì¶¼ÔÚ¡°Ä¥¡±Ê²Ã´£¿£¿£¿£¿£¿£¿2025-12-15
¡¤ÍæÈ¤3D£ºÔõÑùÓ¦ÓÃÖÐÍû3D£¬£¬£¬£¬£¬£¬£¬¿ìËÙÉè¼Æ»ùÕ¾ÌìÏß´«¶¯Âݸˣ¿£¿£¿£¿£¿£¿2022-02-10
¡¤È¤Íæ3D£ºÊ¹ÓÃÖÐÍû3DÉè¼Æ³µ¶¥ÕÊÅñ£¬£¬£¬£¬£¬£¬£¬Îª»§ÍâÐÝÏÐÔöÌíÐÂ×°±¸2021-11-25
¡¤ÏÖ´úÓëÀúÊ·µÄÅöײ£º°¢¸ù͢ѧÉúÓ¦ÓÃÖÐÍû3D£¬£¬£¬£¬£¬£¬£¬ÊÖÒÕÖØÏִ·ÒÆæ¡°·Éµú¡±Ì¹¿ËÔÐÍ2021-09-26
¡¤ÎÒµÄÖ鱦ÈËÉú£ºÎ÷°àÑÀÉè¼ÆÊ¦ÓÃÖÐÍû3DÉè¼Æ»ªÃÀÖ鱦2021-09-26
¡¤9¸öСÃîÕУ¬£¬£¬£¬£¬£¬£¬Çл»ÖÁÖÐÍûCAD¾¹¿ÉÒÔÔÆÔÆË³º¨³©ËÙ 2021-09-06
¡¤ÔÀ´²åÍ·ÊÇÕâÑùÉè¼ÆµÄ£¬£¬£¬£¬£¬£¬£¬¿´ÍêÄãѧ»áÁËÂ𣿣¿£¿£¿£¿£¿2021-09-06
¡¤ÍæÈ¤3D£ºÔõÑùÇÉÓÃÖÐÍû3D 2022й¦Ð§£¬£¬£¬£¬£¬£¬£¬Éè¼Æ×¨ÊôÏà»ú£¿£¿£¿£¿£¿£¿2021-08-10
¡¤CADÔõÑùÕÒµ½²»¹æÔòͼÐεÄÖÊÐÄ2021-01-13
¡¤CADÖÐNLAT¾ÙÐÐÊÚȨ·Ö×éʱÏÖʵ·Ö×éÊýÄ¿ÓëÉèÖõķºÆðÎó²îÓ¦¸ÃÔõô°ì2024-08-09
¡¤CAD»æÖÆ¿ª²ÛÂÝĸ2022-10-08
¡¤CADÔõÑù»æÖÆÊ®×Ö·¿Ú£¿£¿£¿£¿£¿£¿2022-05-07
¡¤CADͼֽÔõÑùÉèÖÃ1£º100´òÓ¡2019-08-07
¡¤CADÔõÑùÅúÁ¿ÌáÈ¡×ø±êµã£¿£¿£¿£¿£¿£¿2022-04-29
¡¤CADÔõÑùÉè¼ÆÄýÍÁ¹¹¼þ£¿£¿£¿£¿£¿£¿2020-04-03
¡¤ÔõÑùʹÓÃCADÅþÁ¬Ïß¶Î2026-01-28