Öá²âͼÁ¢Ìå¸ÐÇ¿¡¢Ö±¹ÛÐԺ㬣¬£¬£¬£¬ÔÚ¹¤³ÌÉÏÆÕ±éÓ¦Ó㬣¬£¬£¬£¬µ«Æä³ß´ç±êעƶÀ§£¬£¬£¬£¬£¬Ðí¶àÈ˱ê×¢²»¹æ·¶£¬£¬£¬£¬£¬Æ¾Ö¤»úÐµÖÆÍ¼¹ú¼Ò±ê×¼µÄ»®¶¨£¬£¬£¬£¬£¬ÍŽáÊÂÇéʵ¼ù£¬£¬£¬£¬£¬ÏÖÐðÊöCADÖÐÖá²âͼµÄ³ß´ç±ê×¢ÒªÁìÈçÏ¡£¡£¡£¡£¡£¡£
1¡¢¹ýʧµÄ±ê×¢£º

ÕâÊÇÓá°ÏßÐÔ¡±±ê×¢£¬£¬£¬£¬£¬ÏÔÈ»ÊǺܹýʧµÄ¡£¡£¡£¡£¡£¡£

ÕâÊÇÓá°¶ÔÆë¡±±ê×¢£¬£¬£¬£¬£¬Ò²²î³Ø¡£¡£¡£¡£¡£¡£
2¡¢×¼È·µÄ±ê×¢ÊÇ£º


׼ȷ±ê×¢µÄÔÔòÊÇ£º
£¨1£©³ß´çÊý×ֵį«ÏòÓë³ß´ç½çÏߵį«ÏòÒ»Ö£»£»£»£»£»£»
£¨2£©³ß´çÊý×ÖÓë³ß´çÏß¡¢³ß´ç½çÏßÔÚÒ»¸öÆ½ÃæÄÚ¡£¡£¡£¡£¡£¡£
3¡¢±ê×¢ÒªÁ죺
£¨1£©Óá°±ê×¢¡±¡ª¡ª¡°Çãб¡±²Ëµ¥ÏÂÁ£¬£¬£¬£¬Ñ¡ÖÐ400µÄ³ß´ç£¬£¬£¬£¬£¬²¶»ñ³¤·½ÌåµÄ¶ËµãΪ»ùµã£¬£¬£¬£¬£¬¸ø³öÇãбµÄÆ«Ïò£º

£¨2£©È·¶¨ºó£¬£¬£¬£¬£¬³ß´ç½çÏß±¬·¢ÁËÇãб£¬£¬£¬£¬£¬ÇкÏÁ˱ê×¢ÒªÇ󣬣¬£¬£¬£¬µ«³ß´çÊý×ÖÕվɲ»×¼È·¡£¡£¡£¡£¡£¡£´ËʱӦ¸Ã°Ñ³ß´çÊý×ÖÐýת-30¶È£º

£¨3£©·¿ª¡°ÎÄ×ÖÑùʽ¡±£¬£¬£¬£¬£¬Ð½¨¶þ¸öÐÂÑùʽ£¬£¬£¬£¬£¬ÑùʽÃûΪ¡°30¡±ºÍ¡°-30¡±£¬£¬£¬£¬£¬Çãб½Ç¶È»®·ÖÊÇ+30¶ÈºÍ-30¶È£º


£¨4£©Ñ¡ÖÐ400³ß´ç£¬£¬£¬£¬£¬½«ÆäÖÃÓÚ-30µÄÎÄ×ÖÑùʽÖУ¬£¬£¬£¬£¬Á¬Ã¦»ñµÃ׼ȷµÄ±ê×¢£º

£¨5£©Í¬ÑùÓá°±ê×¢¡±¡ª¡ª¡°Çãб¡±²Ëµ¥ÏÂÁ£¬£¬£¬£¬¸ø³öÇãбƫÏò£¬£¬£¬£¬£¬»ñµÃ£º

£¨6£©½«400ÎÄ×ÖÐýת+30¶È£¬£¬£¬£¬£¬»ñµÃ׼ȷµÄ±ê×¢£º

£¨7£©ÓÃÏàͬµÄ¡°Çãб¡±ºÍ¡°Ðýת¡±ÒªÁ죬£¬£¬£¬£¬»ñµÃ¿í¶ÈºÍ¸ß¶ÈÆ«ÏòµÄ׼ȷ±ê×¢£º




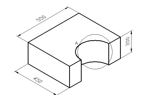
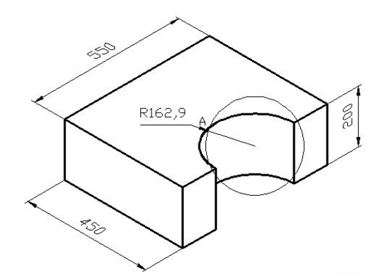
4¡¢Ô²µÄ³ß´ç±ê×¢£º
£¨1£©Ô²µÄÖá²âͼΪÍÖÔ²£¬£¬£¬£¬£¬²»¿ÉÖ±½Ó±ê×¢:

£¨2£©ÒÔÍÖÔ²µÄÖÐÐÄΪԲÐÄ£¬£¬£¬£¬£¬Êʵ±³¤Îª°ë¾¶£¬£¬£¬£¬£¬»Ò»¸öÔ²£¬£¬£¬£¬£¬ÓëÍÖÔ²ÏཻÓÚAµã£º

£¨3£©±ê×¢Ô²µÄ°ë¾¶£¬£¬£¬£¬£¬¼ýÍ·Ö»¹Ü¿¿½üAµã£¬£¬£¬£¬£¬³ß´çÊÇ²î³ØµÄ£º

£¨4£©ÓÃEDÏÂÁîÐ޸ĹýʧµÄR162.9£¬£¬£¬£¬£¬¸ÄΪ׼ȷµÄR150,²¢É¾³ý±ê¼ÇAºÍ¸¨ÖúÔ²£¬£¬£¬£¬£¬»ñµÃ׼ȷµÄ±ê×¢£º

ÍÆ¼öÔĶÁ£ºCADÏÂÁîÖ®ÖØÐÂÌìÉú£¨regenºÍredraw£©
ÍÆ¼öÔĶÁ£ºCADÅàѵ
¡¤Ãâ·ÑÁì90Å·ÔªÃÅÆ±£üÖÐÍûÑûÄú¹²¸°ººÅµÍþ£º¹²¼û¹¤ÒµÊý×Ö»¯µÄÈ«Çòͼ¾°2026-02-05
¡¤ ²ú½ÌÈÚºÏÐÂʵ¼ù£ºÖÐÍûЯÊÖ¸»ÁÙ¾«¹¤¼°´¨ÄÚ¸ßУ¾ÙÐÐÊ׽조׿Խ¹¤³Ìʦ±¡±Éè¼Æ´óÈü2026-01-06
¡¤ ÖÐÍûÈí¼þÁÁÏàÕã½Æû³µÊýÖÇ»¯Äê»á£¬£¬£¬£¬£¬ÒÔ3D+¸³ÄÜÆû³µÁ㲿¼þÐÐҵתÐÍÉý¼¶2026-01-04
¡¤ ÖÐÍûÈí¼þÓ뽨Áؼ¯ÍŸ濢սÂÔÏàÖú£¡¹²ÆôÎÀ³øÐÐÒµÊý×Ö»¯Ñз¢ÐÂÕ÷³Ì2026-01-04
¡¤ ÖÐÍûCAD 365ÈëÑ¡±ÏÂíÍþ²»¶¯²ú¿Æ¼¼50Ç¿£ºÔÆÔÉúÐͬ£¬£¬£¬£¬£¬ÖØËÜÉè¼ÆÉú²úÁ¦Ð·¶Ê½2025-12-22
¡¤ ÖÐÍûÈí¼þÓë¸ñÁ¦µçÆ÷¸æ¿¢Õ½ÂÔÏàÖú£¬£¬£¬£¬£¬¹²ÖþÖйúÖÆÔìÊý×Ö»¯×ªÐͱê¸Ë2025-12-22
¡¤ ²®ÀÊÌØ»úеÈË£ºCAXÒ»Ìå»¯Æ½Ì¨Í»ÆÆÉè¼Æ±ÚÀÝ£¬£¬£¬£¬£¬¿ªÆôÖÇÄÜÖÆÔìÐÂÆªÕÂ2025-12-17
¡¤ Ä£¾ß¼Ó¹¤20Ä꣬£¬£¬£¬£¬ËûÌìÌì¶¼ÔÚ¡°Ä¥¡±Ê²Ã´£¿£¿£¿£¿£¿£¿£¿2025-12-15
¡¤ÍæÈ¤3D£ºÔõÑùÓ¦ÓÃÖÐÍû3D£¬£¬£¬£¬£¬¿ìËÙÉè¼Æ»ùÕ¾ÌìÏß´«¶¯Âݸˣ¿£¿£¿£¿£¿£¿£¿2022-02-10
¡¤È¤Íæ3D£ºÊ¹ÓÃÖÐÍû3DÉè¼Æ³µ¶¥ÕÊÅñ£¬£¬£¬£¬£¬Îª»§ÍâÐÝÏÐÔöÌíÐÂ×°±¸2021-11-25
¡¤ÏÖ´úÓëÀúÊ·µÄÅöײ£º°¢¸ù͢ѧÉúÓ¦ÓÃÖÐÍû3D£¬£¬£¬£¬£¬ÊÖÒÕÖØÏִ·ÒÆæ¡°·Éµú¡±Ì¹¿ËÔÐÍ2021-09-26
¡¤ÎÒµÄÖ鱦ÈËÉú£ºÎ÷°àÑÀÉè¼ÆÊ¦ÓÃÖÐÍû3DÉè¼Æ»ªÃÀÖ鱦2021-09-26
¡¤9¸öСÃîÕУ¬£¬£¬£¬£¬Çл»ÖÁÖÐÍûCAD¾¹¿ÉÒÔÔÆÔÆË³º¨³©ËÙ 2021-09-06
¡¤ÔÀ´²åÍ·ÊÇÕâÑùÉè¼ÆµÄ£¬£¬£¬£¬£¬¿´ÍêÄãѧ»áÁËÂ𣿣¿£¿£¿£¿£¿£¿2021-09-06
¡¤ÍæÈ¤3D£ºÔõÑùÇÉÓÃÖÐÍû3D 2022й¦Ð§£¬£¬£¬£¬£¬Éè¼Æ×¨ÊôÏà»ú£¿£¿£¿£¿£¿£¿£¿2021-08-10
¡¤CADÔõÑùÈ¥µô¡°Shift+Öмü¡±Èýά¶¯Ì¬ÊÓ²ì¿ì½Ý¼ü2025-04-18
¡¤CADÐýת½Ç¶È²ÎÕÕÔõÑùʹÓã¿£¿£¿£¿£¿£¿£¿2022-05-25
¡¤CADÖÐͼÐεÄËõ·ÅÓëÆ½ÒÆ2020-03-20
¡¤CADÔõÑùÅúÁ¿ÐÞ¼ôÏß¶Î2025-07-17
¡¤CADͼƬÄÚÈÝÖ»ÏÔʾ±ß¿ò²»ÏÔʾÄÚÈÝÔõô°ì2023-09-28
¡¤CAD»æÖÆÔƶËͼ±ê2022-11-16
¡¤CADÔõÑùÉó²éͼÏñÊôÐÔ2023-02-23
¡¤CADÖÐÉó²é×Ö·ûÐÎÎļþµÄ·½·¨2024-03-20

Ãâ·ÑÁìÈ¡30Ì켤»îÂë
ÁªÏµ¿Í·þ
